当前位置:首页>技术应用

集成式汽车主机支架压铸模设计

陈财幸,钟秀福 发表于2025/12/15 9:27:20 汽车主机支架铸造工艺铝合金
分享:

图1   壁厚分析

1 铸件概况

铸件外形尺寸为176.99 mm×171.11 mm×90.88 mm,平均壁厚为2.87 mm,壁厚分析如图1所示。铸件材料为AlSi8Cu3,其抗拉强度σb≥195 MPa,延伸率δ≥2%。AlSi8Cu3合金作为高性能的铝合金材料,在汽车工业中发挥重要的作用,其独特性能使之成为制造汽车关键零部件的合理选择。AlSi8Cu3合金的高强度、良好的铸造性能和耐腐蚀性,使其能满足严苛的铸造要求。通过合理的铸造工艺,AlSi8Cu3合金可以被加工成各种复杂形状的零部件,提升汽车的整体性能和可靠性。

根据铸件压铸成型公差及技术要求,确定模具设计及留有足够的后续机加工余量,如图2所示,箭头所指表面是在压铸成型后需机加工位置,调整加工余量为0.3 mm,用于后续加工。

图2   铸件加工余量

2 成型分析

2.1 难点分析

铸件成型难点:①笼式结构复杂,错综复杂的加强筋影响熔体流向,解决熔体对冲时困气问题,要求精准控制流道流量及合理设计溢流槽和排气槽;②铸件壁厚差异较大,型腔末端充填困难;③铸件末端有6处安装孔位,如图3所示,需保证铸件内部的致密性,无气孔、缩孔等缺陷,这样才能满足主机支架的安装强度要求。

图3   成型难点分析

2.2 成型设备匹配

铸件质量为285.9 g,成型投影面积为16 935 mm²,结构复杂,型腔末端充填困难,模具需设计多滑块抽芯。铸件的强度要求高,需要较高的锁模力以及压力,结合压铸机参数(见表1所示),选定DCC280T冷室压铸机为成型设备,配备直径φ60 mm的冲头。

表1   压铸机参数

2.3 成型方案设计

根据技术要求分析,分型设置如图4(a)所示,深色面为主分型面PL1,其中包含碰穿面PL2,PL2面打开方向为开模方向,与开模方向垂直的区域设置SC1、SC2、SC3三个侧向抽芯,其中SC1滑块如图4(b)所示,SC2滑块如图4(c)所示,SC3滑块如图4(d)所示。

图4   分型设计

浇注系统设计如图5所示,主流道Z负责控制整个浇注系统的流量,其横截面尺寸为25 mm×11 mm。遵循主流道横截面大于分流道设计原则,即Z>1+2+3+4,其中分流道为1、2、3、4,分流道浇注系统中设置1、2、3、4流道分别对区域a、b、c、d进行充填。流道1为辅助流道:流道截面尺寸为7 mm×6 mm,内浇口截面尺寸为1.6 mm×8 mm,负责补充流道2因分型面爬坡的压力损失。流道2为主流道,负责区域b的充填,流道截面尺寸为10 mm×8 mm,内浇口截面尺寸为1.2 mm×25 mm。流道3为次主流道,负责区域c的充填,流道截面尺寸为10 mm×8 mm,内浇口截面尺寸为1.2 mm×20 mm。流道4为辅助流道,负责区域d的充填,流道截面尺寸为8 mm×6 mm,内浇口截面尺寸为1.2 mm×9 mm。

图5   浇注系统设计

针对4股流道进料及铸件笼式加强筋结构易引起多股料流在交汇处产生冷料的问题,如不能及时将冷料排出型腔,会导致铸件表面产生冷隔纹,内部引起缩孔、困气等,甚至影响其强度导致断裂,因此在型芯侧设计了4个25 mm×25 mm×12 mm溢流槽和4个12 mm×0.1 mm排气槽,如图6所示。在型腔顶部加强筋内侧设计了25 mm×25 mm×5 mm溢流槽,其侧壁脱模斜度为30°,底部倒R3 mm圆角,靠溢流槽内浇口带出成型铸件,为了顺利带出成型铸件,内浇口尺寸设计为20 mm×1 mm,用于及时排出流道2、3交汇的冷料。在型芯对应的型腔板位置也开设相应的溢流槽以增加排渣的容量,如图7所示。

图6   型芯溢流槽与排气槽

图7   型腔溢流槽

冷却系统设计中压室采用双循环水路,以确保冷却效果,提高冲头的耐用性,分流锥采用水井冷却设计,型芯及型腔板各布置2条直径为φ8 mm的水路,如图8所示,距离铸件为25 mm,水路接头采用1/4PT管牙,所有冷却水管穿过模架直接锁在型芯和型腔板侧面,这样能有效防止因使用密封圈老化而出现漏水现象。

图8   冷却系统

3 模具设计

3.1 模具结构

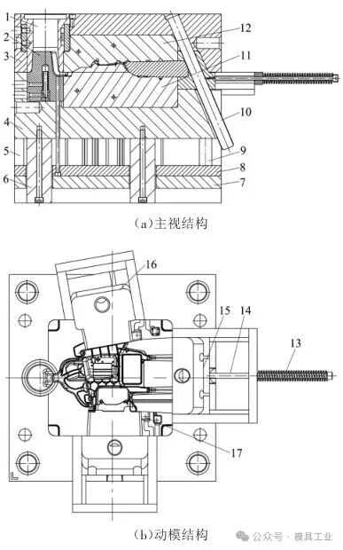
模具结构如图9所示,型腔板镶件12通过螺钉固定在定模板3上,型芯镶件11通过螺钉固定在动模板4上,导柱设计在定模板一侧,便于开模后机械手取件,压室1由双层水路冷却,分流锥2采用水井冷却,水井底部用黄铜密封。模架由定模板3、动模板4、垫块5构成,其中动、定模板须经过调质处理。型腔板镶件主分型面与定模板平面平齐,型芯镶件主分型面高出动模板平面0.15~0.2 mm,即设计合模间隙为0.15~0.2 mm,动模板对应溢流槽排气位置开设深度为0.1 mm。为了防止模板变形,在分流锥2下方设置支撑柱,在模板中间也设置支撑柱,需避开顶杆孔位置。推板8采用4根复位杆9导向,垫块5加工成整体式兼做底板用。动模板4个角设计30 mm×30 mm×8 mm撬模槽,在动、定模板上各设置4个大孔,方便拆装型芯和型腔板镶件。模板上吊模孔为M24 mm,其中天侧为避开顶部滑块拉杆须设置左右2个吊模孔。

图9   模具结构

1.压室 2.分流锥 3.定模板 4.动模板 5.垫块 6.支撑柱 7.推板 8.推杆固定板 9.复位杆 10.斜导柱 11.型芯镶件 12.型腔板镶件 13.弹簧 14.拉杆 15.滑块 16.滑块 17.滑块

3.2 模具成型零件

型芯镶件11、型腔板镶件12、滑块15~17都采用进口合金钢8418制造,8418模具钢是一种含铬、钼、钒的高性能热作模具钢,具有较好的抗热疲劳龟裂、热冲击开裂、热磨损、塑性变形的性能,这些性能使其成为压铸、热锻、热挤压模用钢的最优选择。模具零件粗加工后热处理前须进行去应力处理,淬火硬度为46~48 HRC。模具零件加工完成后,对型芯、型腔板镶件进行喷丸强化处理,喷丸强化处理是专门针对压铸模零件的表面处理技术,其主要目的是提高模具零件的耐磨性、抗腐蚀性和热疲劳性能,以延长模具的使用寿命。型芯及型腔板镶件外形尺寸应比动、定模框小0.05~0.08 mm,四角定位配合公差为0.03~0.05 mm。

3.3 铸件成型

模具装配及经过质检合格后,且保证开合模各个动作(开合模、推出等)顺畅后试模,根据铸件信息及压铸机参数,设定第1次试模参数,如表2所示,第1次试模样件,如图10所示。

表2   试模报告

图10   第1次试模样件

▍原文作者:陈财幸,钟秀福

▍作者单位:厦门市集美职业技术学校

回页顶部